行业动态
石材旋转楼梯三维螺旋体扶手的加工方法
- 作者:
- 发布时间:2026-02-07 23:02:55
- 点击:
石材旋转楼梯三维螺旋体扶手的加工方法
发明人:翁其恂、米央、金夏晴、邹永成、黄春美、杨丰、康瑞德、徐建军、吴镝、张博、左慧敏、陈东征、纪颖、陈晨、刘杨、姚贺芳、顾政
申请人:苏州金螳螂建筑装饰股份有限公司
背景技术
天然石材在室内大型空间得到普遍运用, 但因石材属于脆性材料, 不能弯曲,不像金属材料或木质材料的楼梯扶手那样容易重复调整位置及形状, 故其对一些复杂的异型加工需一次成型,精度要求很高。石材旋转楼梯扶手就是一个典型的复杂异型构件,旋转楼梯的扶手区别于平面圆弧扶手, 平面圆弧扶手水平高度一个是固定的值, 而旋转楼梯的扶手是随着踏步的不断升高而不断抬高的。因此,旋转楼梯扶手是一个三维螺旋体的构件。
目前国内暂时还没有专业的加工石材三维螺旋体的机器, 传统做法是旋转楼梯扶手经电脑辅助计算出最小外切扇形体后, 工厂在最小外切扇形体六个面按照预制的模板画轮廓线, 采用手工打磨成型, 虽然扶手轮廓已经画线, 工人仍要靠手感和技术来控制扭曲的造型曲面, 通过反复修磨及拼接检查,加工出来的效果很大程度上取决于工人的加工经验和技术水平, 若要加工造型截面复杂的旋转楼梯扶手, 其加工精度、 加工质量、 加工周期则难以保证。
此发明的优点是:
1、此发明独创的利用石材常用的二维加工机械加工三维螺旋体扶手, 实现机械化、 工厂化快速生产, 提高加工精度, 其加工精度为手工加工精度的3~4倍;加工精度的提高进而使施工现场安装一次到位, 避免传统加工误差使螺旋体扶手整体在安装拼接现场反复修补, 以及传统误差导致部分扶手构件报废, 施工现场安装一次到位, 扶手整体扭曲造型曲面自然流畅,提高安装效率和观感效果,降低了项目风险,节约了石材资源及人工修补成本。
2、此发明将现有加工技术中修磨步骤使用机械加工代替手工成型的问题。通过机械化快速加工, 使螺旋体扶手机械快速成型, 大大缩短加工周期, 约为传统加工周期的十五分之一,大量节约了劳动力资源。
3、此发明机械化加工, 消除传统的手工反复修磨造成对扶手的加工误差, 扭曲造型曲面自然流畅,较传统手工加工其加工质量大大提高。
4、此发明避免了传统手工加工的粉尘污染, 减少了粉尘对工人产生的危害, 保护了环境, 实现了绿色加工。
此发明公开了一种石材旋转楼梯三维螺旋体扶手的加工方法,它包括下述依次工艺步骤:

a.加工石材最小外切扇形体坯料;
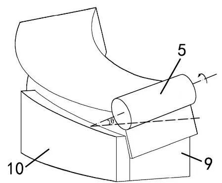
b. 使用底面加工磨轮(5) 加工底面造型曲面;
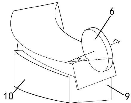
c. 使用玻璃槽加工磨轮(6) 加工底面螺旋形玻璃槽;
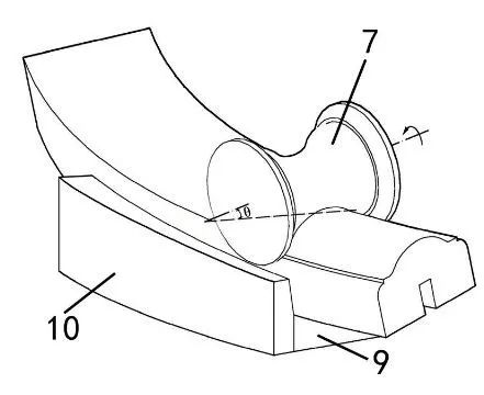
d. 使用顶面加工磨轮(7) 加工顶面造型曲面;
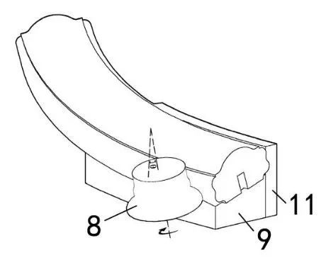
e. 使用侧面加工磨轮(8) 加工内侧面造型曲面;
f. 使用侧面加工磨轮(8) 加工外侧面造型曲面。
发明内容
发明的目的是:提供一种石材旋转楼梯三维螺旋体扶手的加工方法, 能实现机械化、 工厂化快速生产,加工精度高、加工质量高,加工周期短。
此发明的技术方案是:一种石材旋转楼梯三维螺旋体扶手的加工方法, 它包括下述依次工艺步骤:
a.准备 :利用计算机辅助计算,计算出石材三维螺旋体扶手的最小外切扇形体尺寸,加工出能满足加工出石材三维螺旋体扶手的石材最小外切扇形体坯料;
b. 使用底面加工磨轮(5) 加工底面造型曲面, 底面加工磨轮(5) 为圆柱形加工磨轮,加工时, 其旋转轴线倾斜角度θ需和螺旋导轨(9) 的倾斜角度θ一致 ;螺旋导轨 (9) 和外靠板 (10) 临时组合固定,共同控制加工物件围绕外靠板(10) 圆心和螺旋导轨(9) 做螺旋运动;
c.使用玻璃槽加工磨轮(6) 加工底面螺旋形玻璃槽,玻璃槽加工磨轮(6)为圆柱形加工磨轮, 加工时, 其旋转轴线倾斜角度θ需和螺旋导轨(9) 的倾斜角度θ一致;螺旋导轨(9) 和外靠板(10) 临时组合固定, 共同控制加工物件围绕外靠板(10) 圆心和螺旋导轨(9)做螺旋运动;玻璃槽的深度根据设计调整玻璃槽加工磨轮(6) 的位置 ;
d.使用顶面加工磨轮(7) 加工顶面造型曲面,加工时,顶面加工磨轮(7) 的旋转轴线倾斜角度 θ需和螺旋导轨(9) 的倾斜角度θ一致 ;螺旋导轨 (9) 和外靠板 (10) 临时组合固定, 共同控制加工物件围绕外靠板(10) 圆心和螺旋导轨(9) 做螺旋运动;
e. 使用侧面加工磨轮(8) 加工内侧面造型曲面,加工时, 侧面加工磨轮(8) 的旋转轴线倾斜角度θ需和螺旋导轨(9) 的倾斜角度θ一致 ;螺旋导轨 (9) 和外靠板 (10) 临时组合固定, 共同控制加工物件围绕外靠板(10) 圆心和螺旋导轨(9) 做螺旋运动;
f. 使用侧面加工磨轮(8) 加工外侧面造型曲面,加工时, 侧面加工磨轮(8) 的旋转轴线倾斜角度θ需和螺旋导轨(9) 的倾斜角度θ一致 ;螺旋导轨 (9) 和内靠板 (11) 临时组合固定,共同控制加工物件围绕内靠板(11) 圆心和螺旋导轨(9) 做螺旋运动。
附图说明
下面结合附图和实施例对此发明作进一步的描述:
图1为此发明的要加工的石材三维螺旋体扶手示意图。

图1
图2为此发明的石材三维螺旋体扶手外切扇形体坯料示意图。

图2
图3为此发明的石材三维螺旋体扶手外切扇形体坯料截面示意图。

图3
图4为此发明的石材三维螺旋体扶手外切扇形体坯料需磨削掉部分的分解示意图。

图4
图5为此发明采用的螺旋导轨示意图。

图5
图6为此发明采用的外靠板示意图。

图6
图7为此发明采用的内靠板示意图。

图7
图8为此发明采用的螺旋导轨和外靠板临时固定示意图。

图8
图9为此发明采用的螺旋导轨和内靠板临时固定示意图。

图9
图10为此发明的加工工序的分解示意图。

图10
图11为此发明中利用底面加工磨轮加工底面造型面示意图。

图11
图12为此发明中利用玻璃槽加工磨轮加工螺旋形玻璃槽示意图。

图12
图13为此发明中利用顶面加工磨轮加工顶面造型面示意图。

图13
图14为此发明中利用侧面加工磨轮加工侧面造型面示意图。

图14
图15为此发明中利用侧面加工磨轮加工侧面造型面示意图。

图15
其中:
1坯料中需修磨掉的部分;
2坯料中需修磨掉的部分;
3坯料中需修磨掉的部分 ;
4坯料中需修磨掉的部分;
5底面加工磨轮;
6玻璃槽加工磨轮;
7顶面加工磨轮;
8侧面加工磨轮;
9螺旋导轨;
10外靠板;
11内靠板。
